国产斯堪尼亚四轴载货底盘亮相!豪沃新一代天然气重卡来袭?400批《公告》亮点车型盘点
2025年10月9日,工信部第400批《道路机动车辆生产企业及产品公告》(下文称《公告》)正式发布。在本批次公告中,涌现出了不少值得一看的亮点车型。从混合动力再到越野底盘等等,为当下和未来商用车市场带来了新意。今天这篇文章,就让我们一起速览这些亮点车型!
国产斯堪尼亚四轴载货底盘

在此前的第399批《公告》中,斯堪尼亚制造(中国)有限公司一连申报了7款新品,其中包括3款半挂牵引车、3款特种作业车底盘、1款载货汽车底盘。它们代表着首批国产斯堪尼亚卡车的问世,象征着“公路之王”的中国化新时代。在此前产品基础上,斯堪尼亚于400批《公告》中申报了SAS1320GSN001载货汽车底盘,进一步丰富了国产斯堪尼亚的产品阵容。

本批斯堪尼亚申报车型为500 R 8x4载货汽车底盘。与此前的国产斯堪尼亚车型相仿,这台载货汽车底盘也采用了R系平台,搭载CR20H型高顶带卧铺驾驶室,取消车顶射灯,并搭载国产化的Super动力:DC 13 220发动机。这款发动机对应斯堪尼亚欧洲的DC 13 174发动机,输出500匹马力,扭矩2650牛米(海外版)。在上一批公告中,斯堪尼亚申报了460 R 6x2后提升载货汽车底盘。随本批次新品问世,国产斯堪尼亚能为载货车运用提供更丰富解决方案。

选装配置方面,国产斯堪尼亚500 R 8x4载货汽车底盘可选带或不带侧储物舱、无后部摄像头、无车顶喇叭、无车轮螺母帽,主要是一些细节上的差异化配置。
豪沃新一代天然气重卡

在2024年12月8日举行的中国重汽2025年合作伙伴大会上,重汽济商最新一代平台产品正式亮相。这款产品定位于移动的梦想“家”,整车外观融合“星芒机甲”式设计理念,线条锋利、棱角有致,将机械感和科技感融合、展示的淋漓尽致。在本批次公告中,重汽济商进一步申报了豪沃牌ZZ4257V384TF1LB牵引车产品。它采用天然气动力,与此前申报的柴油动力版本组成搭配。

这款新品采用潍柴WP16NG系列天然气发动机,可选640匹、680匹、700匹、720匹、750匹五个马力配置。强大的动力,使这款车型一举成为了国内乃至全球范围内马力最大的天然气牵引车之一。WP16NG系列是潍柴旗舰天然气动力,采用偏置曲轴技术、折返式气道设计,并配备高能点火系统等先进技术。既能大幅提升动力,也能降低燃料消耗,从容面对山区等复杂路况挑战。

重汽济商为这款新品提供了广泛的选装配置,包括前脸造型、金色车标、顶置驻车空调等等。电子后视镜系统也作为选装配置提供,能够进一步降低车辆空气阻力,同时还能减少风噪,并在黑夜、恶劣天气等环境下提供更加清晰的驾驶视野。
宇通新能源牵引车火力全开

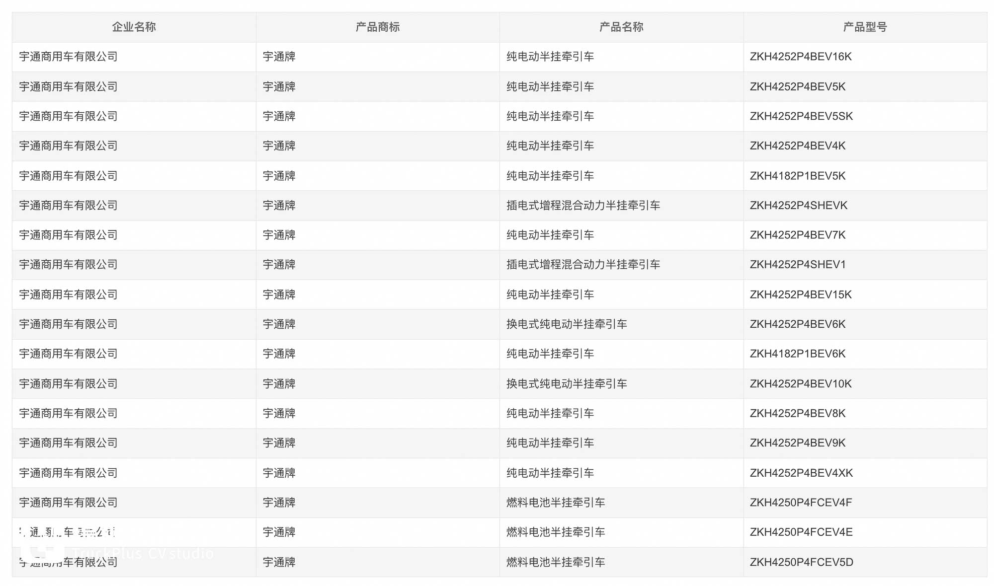
作为一家全国乃至全球范围内知名的巴士企业,宇通近年来在新能源重卡、新能源环卫装备等领域持续发力。在第400批次《公告》中,宇通可谓是“火力全开”,一连申报了18款新能源牵引车新品,涵盖纯电、换电、燃电等多种不同技术路线。这些新品展示了宇通为市场提供的丰富解决方案,背后则是宇通深耕新能源商用车产业而来的强劲技术实力。

ZKH4252P4SHEVK

ZKH4252P4SHEV1
在这18款新能源牵引车新品中,两台插电式增程混合动力半挂牵引车引人注目。它们采用后置+底置电池组结构,配备宁德时代磷酸铁锂动力电池,可外接充电。为了提升续航性能,车辆额外配备玉柴YCY25170-66型2.5L柴油发动机。它作为增程器,可按需启动,带动发电机为车辆电池充电。既能加油又能用电,是当前面对纯电动车型“续航焦虑”的最有效解法之一。
“猛士”越野底盘家族扩充

EQ2078HYY6J7 双排座底盘

EQ2078FYY6J7 单排座底盘
在第400批《公告》中,东风汽车集团有限公司申报了两款越野汽车底盘。它们是“猛士”MS600越野车家族的衍生车型,分别为单排座、双排座驾驶室,配备高位进气、金属保险杠、前绞盘、底盘护板等配置,可选原厂驾驶室后壁切割。从种种配置上不难看出:该车具有极高的玩乐属性,或将在越野房车等细分领域崭露头角。

特点鲜明的选装配置从侧面暗示了车辆的用途
广汽领程纯电动牵引车上新

针对未来商用车行业发展,广汽开启了改革转型。自2025年4月21日起,原“广汽日野”正式变更为“广汽领程”,专精于新能源商用车行业。在本批次公告中,广汽领程YC4255SSMBEV纯电动牵引车亮相。该车可选中创新航、欣旺达磷酸铁锂电池,配备两台特百佳TZ220XSTPG69电动机,总峰值功率达460kW(625马力)。基于成熟平台,广汽领程已先后交付多批纯电动重卡,“转型突围”已见成效。
总结

至此,400批《公告》亮点车型就盘点完毕了。无论是国产斯堪尼亚载货底盘扩充,还是宇通、广汽新能源新品加速、豪沃新平台车型亮相,种种动态都为行业发展提供了动力。那么卡友们,您觉得哪款车型最有意思呢?欢迎在评论区和我们交流!感谢您阅读本篇文章!还想看到更多有趣有料的商用车内容,别忘了关注我们哦!



